Caractéristiques de la fonction du relais de démarrage pour le moteur du compresseur du réfrigérateur. Choix possibles et opportunité de remplacement indépendant de la partie réfrigérateur. Lors de l'utilisation d'un moteur de réfrigérateur triphasé, l'installation d'un enroulement de démarrage n'est pas nécessaire. Lorsqu'il est connecté à un réseau 380 V, l'appareil fonctionne de manière à ce que toutes les bobines de stator soient mises en phase indépendamment. Cependant, lors de l'utilisation d'un réseau 220 V, il devient nécessaire d'utiliser des composants supplémentaires (circuits triangulaires et en étoile avec présence d'un compresseur).
Cette fonction vous permet de vérifier et de fournir la tension requise dans l'un des enroulements, par rapport aux autres à 90 degrés. Ainsi, le premier enroulement est l'enroulement de démarrage, et le moteur du compresseur s'éteindra à la vitesse maximale. Le système utilisé pour connecter le réfrigérateur à la ligne 220V fait en fait un analogue biphasé d'un moteur triphasé.
Caractéristiques du démarrage d'un moteur asynchrone lors de l'utilisation d'un réseau monophasé. Comme vous le savez, le 380V est formé de trois phases de 220V chacune, mais dans ce cas, nous parlons de la valeur réelle, mais pas de l'amplitude (le paramètre provoquant l'effet thermique avec résistance passive). En termes simples, les indicateurs de tension alternative changent constamment, par conséquent, pour plus de commodité, ils sont moyennés. Ceci est considéré comme une valeur efficace.
Caractéristiques du relais de réfrigérateur
Pour le fonctionnement complet d'un moteur de type asynchrone installé dans un réfrigérateur, le champ à l'intérieur doit nécessairement tourner. Cependant, le facteur nécessaire peut être assuré et vérifié en appliquant la valeur appropriée aux trois enroulements de la phase. Le résultat de l'action est l'addition vectorielle des champs, qui assure la rotation, qui entraîne le rotor avec lui. Les voyants disponibles lorsqu'un moteur triphasé est connecté à une ligne 380 V sont les plus élevés de tous les types de connexion. Cela devient la raison de l'utilisation généralisée du procédé dans la production industrielle, mais il n'est pas très adapté aux réfrigérateurs ménagers.
En présence d'une seule phase, la rotation du champ est en principe impossible, car au moins deux vecteurs sont nécessaires pour le mouvement. L'installation d'un compresseur qui fournit un décalage de tension de 90 degrés aide à obtenir les indicateurs nécessaires dans les conditions des appartements et des maisons privés. Le champ alternatif obtenu lors de la rotation active le rotor dans le sens souhaité. Bien sûr, le processus n'est pas aussi fluide qu'en présence de trois vecteurs, mais cela suffit pour le fonctionnement des appareils ménagers.

La présence de tension triphasée dans les maisons privées n'est pas prévue pour le raccordement du réfrigérateur. Mais pourquoi? La raison réside dans le besoin de compétences et de connaissances théoriques spéciales, ce qui est assez difficile à percevoir pour le profane moyen. Avec une phase et une masse, l'utilisation des appareils électroménagers devient simple et pratique, ce qui vous permet de passer à côté des performances pour des raisons de confort.
Que fait l'enroulement de départ? Au début du démarrage du moteur, le relais fournit la création d'un deuxième vecteur, grâce auquel le champ formé dans le processus peut être considéré comme tournant. N'étant pas un cercle régulier, ses indicateurs sont suffisants pour faire tourner le rotor. À pleine vitesse, pour économiser de l'énergie et augmenter l'efficacité, la bobine de démarrage du réfrigérateur est désactivée.
Voir également:
- 7 meilleurs réfrigérateurs Bosch selon les avis des clients
- 8 meilleurs réfrigérateurs Samsung selon les acheteurs
- 9 meilleurs réfrigérateurs bon marché selon les acheteurs
- 10 meilleurs réfrigérateurs LG selon les avis des clients
Le principe de fonctionnement du relais de démarrage du réfrigérateur
Comment la bobine de démarrage s'arrête-t-elle lorsque la vitesse est atteinte? Au début du fonctionnement du relais, la consommation d'énergie maximale est observée, sur laquelle tout est basé. De plus, un relais de démarrage est souvent utilisé pour une protection supplémentaire. L'arrêt est effectué lorsque l'élément spécial se réchauffe. Après avoir atteint la valeur maximale, le circuit perd son intégrité, que le mode réglé du réfrigérateur soit atteint ou non. Il existe les schémas suivants pour le fonctionnement du relais de démarrage:
"Pilules". Ils sont fabriqués à partir d'une substance capable de se dilater lorsqu'elle est chauffée. La pièce est froide lorsque le réfrigérateur est allumé. Cependant, avec une augmentation progressive de la température, le contact s'ouvre, grâce à quoi seule la bobine reste fonctionnelle. Certains experts estiment que le maintien du mode souhaité peut être obtenu en utilisant un starter d'enroulement de travail. Vous pouvez vérifier cela empiriquement.
Voir également - Caractéristiques du thermostat du réfrigérateur
Les relais à induction fonctionnent sur le principe de l'interaction des électroaimants. Au démarrage, les systèmes de réfrigération consomment le maximum d'énergie, ce qui conduit à l'interaction du noyau et des contacts de la bobine de démarrage. Lorsque le courant diminue davantage, le mécanisme est affaibli et les connexions s'ouvrent.
Il est important de noter que, avec les tablettes, le corps de l'appareil est souvent également équipé de relais thermiques montés sur des plaques bimétalliques. Cela permet d'ouvrir les contacts immédiatement après avoir dépassé le seuil de déclenchement. Le fonctionnement d'un relais de ce type est réalisé en chauffant l'élément sensible. Un tel système de protection du compresseur est considéré comme l'un des plus courants pour les appareils électroménagers.
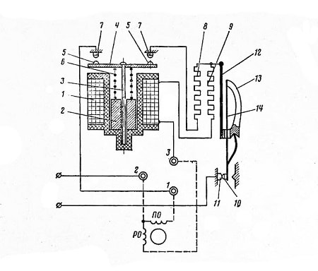
Conception de relais de démarrage
Le démarrage, ou relais de démarrage, utilisé dans certains modèles de réfrigérateurs, a la forme d'une tablette. Cet élément est situé au niveau du carter du moteur du compresseur (partie noire). Fait intéressant, les fabricants choisissent toujours le noir pour cette pièce. Mais pourquoi?
Le noir est capable d'absorber et de rayonner la chaleur. Les mouvements du processus dépendent de la différence de température entre l'environnement extérieur et le compresseur. Dans les situations où le moteur chauffe, de la chaleur est générée. Pour accélérer le processus de refroidissement, un ventilateur est parfois utilisé pour dissiper la chaleur plus rapidement dans l'espace environnant.
L'élément de démarrage, en règle générale, a:
- une phase 220 V et une phase terre (avec deux entrées);
- enroulement de démarrage et de travail d'un moteur asynchrone, ainsi que la phase de masse (avec trois entrées);

Les couleurs dans lesquelles les fils sont peints aident à faciliter le processus de connexion du réfrigérateur pour le consommateur. Cependant, même dans des conditions évidentes, il est recommandé de réparer le réfrigérateur et ses composants avec précaution. Pour déterminer la masse du compresseur, une petite couche de peinture peut être retirée du boîtier, ce qui permettra de vérifier tous les contacts. Malgré la simplicité de cette méthode, il vaut mieux la laisser au cas où d'autres options seraient hors de question.
Emplacement de l'appareil
Le relais de compresseur des modèles RTP présente quelques différences et peut être situé sur le câble (sans fixation au cadre). Le processus de travail, en même temps, est effectué avec un compresseur DXM et diffère du DXR par des indicateurs de courant plus bas lorsqu'il est déclenché.Un tel dispositif permet de protéger qualitativement le compresseur en présence d'un tel courant descendant.
Avant d'acheter un relais, il est important de vérifier s'il correspond au type de compresseur. Une bonne installation compte également. La meilleure option lors du choix d'un appareil est d'acheter une marque de produit similaire à celle installée précédemment.
Voir également:
